




● 簧片以铍铜为主要材料冲压而成,对金属疲劳有很强的弹性,用作接地和EMI屏蔽;
● 接触电阻低,屏蔽效果优秀;
● 多种环境中良好工作,能选择多种镀层来确保与其他接触表面的电化学兼容性。
铍-铜类EMI屏蔽材料良好的弹性和导电性,使之耐磨、耐压和具有高屏蔽效能,有多种形状及镀层可供选择,机械运作空间大,安装方式多种多样,能适应高温环境,经久耐用,适合活动频率高的场所,能承受切向运动,上面、侧面都能进行衬垫填充,截面形状和安装方法多种多样,广泛地应用于通信、计算机,屏蔽室、屏蔽舱等设备的缝隙填充中,既解决了其他衬垫材料不能承受切向运动的问题,又在宽频段范围内具有很高屏蔽效能,同时还具有高导热性,耐压性好的特点。
应用范围可以小到手持电子器械,大到屏蔽室和电波暗室。
性能参数参考:

按照安装方式的不同,一般分成以下方式:

● 优良导电性能;
● 持久耐疲劳性能;
● 可重复使用的理想材料;
● 优良回弹性能,压缩其高度20-80%;
● 高抗压性能,可以反复双向压缩;
● 耐腐蚀性能;
● 超低磁导率;
● 容易电镀和焊接。
屏蔽室/屏蔽机柜类簧片
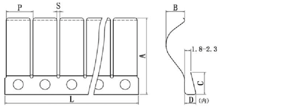
1. 01-1535-01
![]() | ![]() |
![]() |
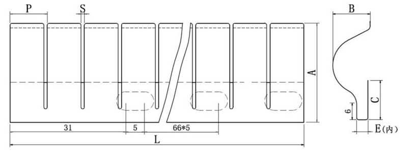
2. 01-1640-01
![]() | ![]() |
![]() |
3. 01-1368-01
![]() | ![]() |

4. 01-LD40-01
![]() | ![]() |
本产品可以提供左.右角簧(见图示)


主要安装在电路板或外部金属外壳上,起到电磁屏蔽和接地的作用。
